中国银联招募“云闪付用户拓展服务商”
吾爱POS网方面获悉,中国银联黑龙江分公司根据工作需要,拟对“2022年中国银联黑龙江分公司云闪付APP用户拓展项目”进行公开招募服务商。据悉,拟招募符合资质的服务商为中国银联黑龙江分公司提供黑龙江地区云闪付APP用户拓展服务。此次招募,报名截止时间为2022年6月30日。代理商网获得资料显示,服务商需具备以下资质要求:1.依法成立,具有法人资格,遵守我国的法律、法规和条例。2.具有产品推广、活动…- 99
- 0
小场景孕育大生态 银联深耕场景“织”出普惠便民网
今年中国银联迎来了20周岁,20年间,无论是携手产业各方与中国经济发展同频共振,还是助力构建健康有序的支付生态,中国银联一直用切实举动,书写“支付为民”的拳拳之心。从最早的银行卡和受理柜台,到20年后银联丰富多元的创新产品体系和应用场景将支付服务延伸至经济生活的各个角落,日新月异的支付体验,与银联深耕受理场景建设密不可分。一直以来,银联秉承开放共享理念,联合产业各方建立互利共赢的合作模式,做深做透…- 25
- 0
POS机0.38%费率到底是怎么回事
昨天的文章讨论区里有讨论到一个问题:如果POS机上刷卡金额小于1000时刷卡费率是0.38%,大于1000时费率是0.6%,是不是正规的?这个问题我也不知道该怎么回答,就先把和这个问题有关的几个概念查了一下,一并放在此文。 银联云闪付 说到0.38费率绕不过去的一个概念是银联云闪付。 带云闪付功能的信用卡 云闪付APP是在人行指导下,由银联携手各商业银行、支付机构等产业各方共同开发建设、共同维护运…- 245
- 0
【收款码暂停使用】云闪付率先响应政策,暂停个人码注册!支付市场或将又迎红利期
为加强支付受理终端及相关业务风险管理水平,有力斩断跨境赌博等犯罪“资金链”,维护支付市场秩序,保障社会公众利益,人民银行在深入调研、广泛征求各方意见的基础上制定了《中国人民银行关于加强支付受理终端及相关业务管理的通知》(银发〔2017〕21号)(以下简称《通知》),已于2021年10月13日发布,并将于自2022年3月1日起施行。 对支付终端的要求 01 银行卡受理终端 1)应当按照《中国人民银行…- 90
- 0
POS机知识大全:一文带你看懂闪付、云闪付、双免的区别
“闪付、云闪付、双免”是我们使用POS刷卡时常听到的词汇,但是直到今天,仍有很多朋友不明白这三者之间的含义区别,今天支付创叶哥就来为大家详细解读一下。 闪付、云闪付和双免的区别“云闪付”是银行卡先绑定在带有NFC功能的手机钱包APP上,如华为PAY,刷卡时用,手机去靠POS 机,完成交易。前提是需要手机支持NFC功能。 “闪付”则是把带有”Quickpass”标识的银行卡…- 289
- 0
“云闪收”碰瓷“云闪付”,银联起诉获赔255万
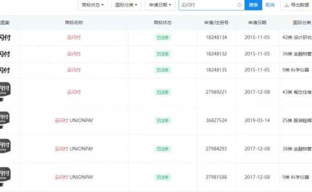
“云闪付”变“云闪收”且商标高度近似,中国银联一纸诉状将背后公司告上法庭。 云闪付是由中国银联携手各商业银行、各支付机构共同开发建设、维护运营的一款移动支付APP,2017年12月11日正式对外发布,目前,云闪付APP注册用户数超4亿人次。 中国银联出于保护品牌的目的,先后在多个类别上申请注册“闪付”、闪付 QUICK PASS”、“云闪付”、“云闪付UNIONPAY”等数件商标。 随着云闪付知名…- 213
- 0
查看信用卡账单哪个软件最准确?有推荐的吗
信用卡管理软件有很多,比如支付宝、卡牛、51管家等等第三方信用卡管理APP,还有发卡行的官方APP,都可以查询信用卡账单,第三方软件可以管理多个信用卡,而发卡行官方APP只能管理本银行的信用卡;但是这些都不方便,今天推荐一款最方便的信用卡管理工具-云闪付APP。 无论是银行APP,还是支付宝、卡牛、51等第三方信用卡管理APP,都不及云闪付APP有优势和方便。 云闪付APP 云闪付可以一次性绑定管…- 814
- 0
闪付/云闪付0.38%费率刷卡,到底会不会封卡?
闪付/云闪付0.38%费率刷卡,到底会不会封卡?首先我们要明确闪付和云闪付的区别。 闪付和云闪付都是银联品牌产品,而它们二者最大的区别就是支付过程不同:云闪付一般离不开手机、平板电脑等电子产品的NFC功能。要使用云闪付的话,就需要在支持NFC功能的手机终端上绑定一张银行卡,也就是申请一张虚拟卡,然后把手机贴在具有银联“闪付”标识的Pos机上挥过,听到“滴”的一声,就完成支付了。 而闪付则是拿着带有…- 249
- 0
闪付、云闪付、银联二维码有什么区别
对于很多卡友来说,“云闪付”是一件非常令人困惑的事情。例如:云闪付和云闪付APP是一样的吗?云闪付有什么样的支付方式?云闪付费率为什么只要0.38%?云闪付APP有什么作用? 云闪付由银联推出的APP,是一种非现金收付款移动交易结算工具,是在中国人民银行的指导下,由中国银联携手各商业银行、支付机构等产业各方共同开发建设、共同维护运营的移动支付APP。其支付方式具体分为3种: 1、闪付;2、云闪付、…- 323
- 0
微信收款码支持云闪付App物料已线下出现;微信“九宫格”也能云闪付
吾爱POS支付网讯,近期有媒体发现在街边门店出现了“微信收款码支持云闪付及银行App支付”的宣传台卡、海报、桌贴,经询问了解得知,商家可在“收款小账本”微信小程序,进入“我的积分”页面,使用积分兑换“云闪付支付推广套装”,此外购买“微信官方收款码”也可同时获取云闪付相关物料。 据此看来,微信支付和云闪付的互联互通正在持续深入。尤其是今年以来,双方的互联互通动作频频,不断取得突破。 其实早在去年1…- 235
- 0
银联云闪付一键查卡,让银行卡管理更简单!
银行卡现已成为人手必备的重要物品,不少人甚至在不同银行开立了多张银行卡。很多持卡人都有这样的困惑,自己名下到底开过多少张银行卡?都在哪些银行开立的? 为便于社会公众直接掌握个人名下银行卡信息,强化自身银行卡管理,在中国人民银行的指导下,中国银联联合商业银行践行“支付为民”理念,依托银行业统一APP云闪付开通了“一键查卡”服务,支持持卡人查询自己在多家银行名下银行卡开立及使用状况等信息,方便持卡人查…- 457
- 0
云闪付
幸运之星正在降临...
点击领取今天的签到奖励!
恭喜!您今天获得了{{mission.data.mission.credit}}积分
我的优惠劵
- ¥优惠劵使用时效:无法使用使用时效:
之前
使用时效:永久有效优惠劵ID:×
没有优惠劵可用!




















